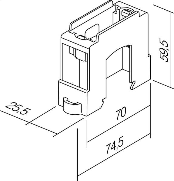
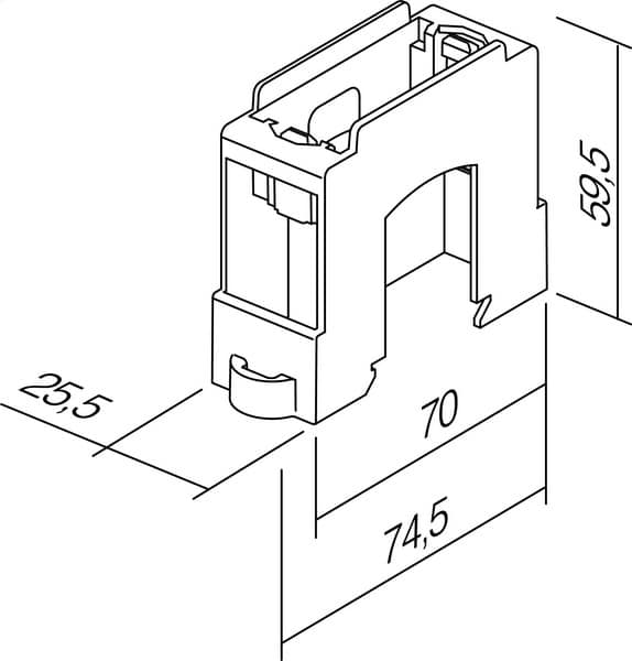
TEM ADAPTER ZA DIN LETVU MODUL 1M BE

SKU: RB10-U

– adapter MODUL 1M
– for DIN rail 35mm
– in accordance with EN 50022