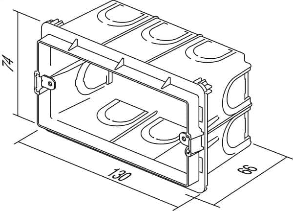
TEM KUTIJA PRAVOKUTNA ZA ZID PM4-65

SKU: DM41-P

– size 4M, depth 65mm
– 650°C, 400V~
– in accordance with IEC 60670-1
– halogen free